尊龙集团官网

首页- 尊龙集团中国官网入口
首页- 尊龙集团中国官网入口

旋转接头

首页 - 产品展示

big202241892218363

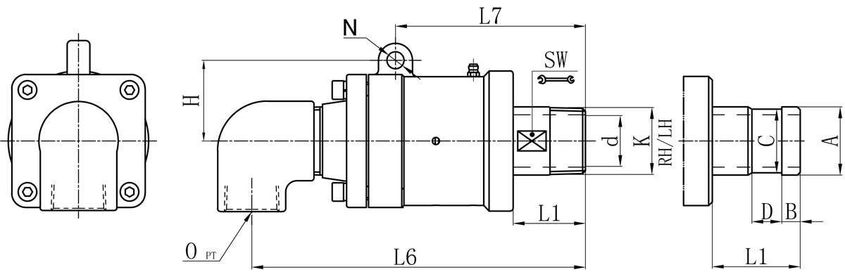
YJTX型 单通路

型号:YJTXD、YJTXDF
表管:螺纹或法兰
特点:平衡式机械密封设计; 自支持式设计; 尺度碳石墨密封设计; 双轴承间距支持; 单通路和双通路设计; 齐全流通设计。

技术参数:
合用介质
最高温度 ≤120℃
最高压力 ≤1.0MPa
最高转快

≤1500rpm


产品征询 返回列表

销售服务热线:

0595-8686 1188

首页- 尊龙集团中国官网入口


Model K O d L1 L6 L7 N H SW 法兰式表管尺寸对照表
A B C D
20A R3/4" Rc3/4" 18 48 175 107 8 37 26 26 11 24 16
25A R1" Rc1" 22 50 184 112 10 44 30 34 12 32 18
32A R1-1/4" Rc1-1/4" 30 60 212 129 12 55 41 40 13 38 20
40A R1-1/2" Rc1-1/2" 36 64 235 149 12 57 45 47.8 13 45 20
50A R2" Rc2" 46 77 290 178 12 72 58 60 16 57 24
65A R2-1/2” Rc2-1/2” 60 88 325 207 14 92 70 74 19 70 24

如属规格品表  ,本公司可共同要求造作。
规格尺寸如有批改  ,恕不另行通知。 

Copyright ?尊龙集团官网 版权所有 闽ICP备05026600号 中机尺度化钻研院 网站建设:科伟网络

【网站地图】